GBT4706.32-2024家用和类似用途电器的安全 第32部分: 热泵、空调器和除湿机的特殊要求 附录 KK (规范性) A2L热表面点燃温度试验方法
附录KK
(规范性)
A2L热表面点燃温度试验方法
KK.1 一般要求
A2L制冷剂的热表面点燃温度应按照附录KK确定。制冷剂应喷淋在一个设定在试验温度的水
平平板表面上。
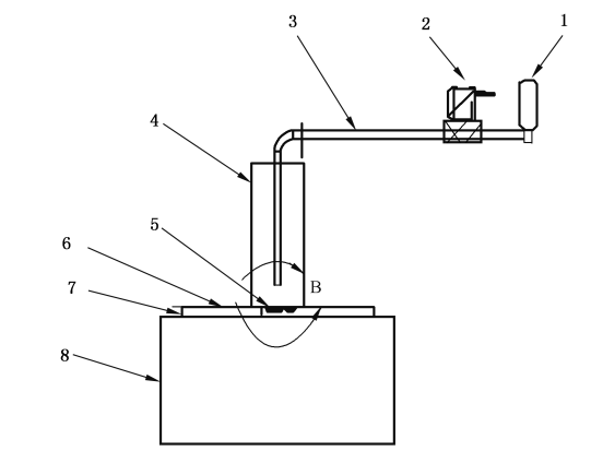
试验系统由热板、喷淋试管和玻璃罩组成。图KK.1、图KK.2 和图KK.3展示了试验装置的构成。
注:该方法是ASTMD6668“用于辨别燃烧等级F=0和F=1的标准试验方法”的修改方法。ASTM试验是为汽
车油液在815℃的符合性试验而设计的。本附录关注液化制冷剂,并定义最高无点燃温度。

KK.2试验装置要求
热板应具有如下特性。热板应由具有如下尺寸的不锈钢平板组成:
直径:50 mm±2.0 mm
厚度:6+%mm
表面纹理:ISO1302
热板应水平放置。加热器应给平板提供均匀加热。除试验表面外的所有表面应使用能够承受
815℃的陶瓷纤维板进行隔热。该隔热层应确保蒸气不会被热板顶面以外的部分点燃。
喷淋系统由液体供应装置、2个阀门(阀门间存留液体体积1.0cm3士0.2cm3)、引导喷淋的管路组
成。从阀门到末端的喷淋管应具有如下尺寸:
长度:250 mm±5.0 mm;
外径:≤4mm;
内径:1.6 mm±0.1 mm;
用一个带有独立导线的K型热电偶点焊在热板上表面中心的背侧。
硼硅酸盐或石英玻璃圆筒应有230mm±10mm长和70 mm士10 mm的内径。玻璃圆筒应被支
撑使其垂直安装且在其底部边缘和绝缘顶部之间有一个2.5mm士0.2 mm的间隙。
KK.3 程序
试验环境条件应设定在23℃士3℃和相对湿度为(50士5)%。在试验过程中玻璃圆筒和热板之间
建立一个恒定的空气流速。该气流稀释蒸气以便在热表面上形成一个点燃的最佳浓度(近似当量)。
试验应在试验室的通风柜内进行。包括玻璃圆筒顶部的试验装置应位于实验室通风柜的层流
区,使得玻璃圆筒内的气流不会受到干扰。
喷淋制冷剂管路的末端应放置在热板上方40mm±10mm,且应指向热板的中心。该管路应垂直
于水平平板。