13609623361

产品展示

首页-产品展示-GB9706医用电气设备
GB9706易燃混合气体试验装置

易燃混合气体试验装置通过该触点装置,将受试电路闭合或断开,检查火花是否会点燃受试的气体或混合气;试验装置包括一个点燃室和一个触点装置。

更新日期:2025-01-15

型号:GB9706

浏览量:5881

查看详情

电动床、智能床、老年护理床静动载荷试验机

适用于医疗床的动载荷、耐冲击、抗压测试。符合标准YY9706.252 、ANSI/BIFMA 5.1;EN 1730/1728;QB/T 2280 YY0571 图BB.2、YY9706.252-2021《医用电气设备第2-52部分:医用病床的基本安全和基本性能专用要求》标准中边栏强度和栓锁可靠性”及第201.9.8.3.3.4“拉伸杆的动态试验”要求等设计制作

更新日期:2025-10-16

型号:

浏览量:864

查看详情

残余电压测试仪

残余电压测试仪是根据国标4706.1以及IEC的有关标准的要求设计制造,用于测试各种低压电器、家用电器在工作结束后电压端子上的残余电压。仪器广泛适用于的生产厂以及科研和质检部。

更新日期:2025-09-05

型号:

浏览量:1304

查看详情

脚踏开关疲劳试验机

脚踏开关疲劳试验机符合YY1057-2016、GB9706.1-2020等有关标准要求,可用于医用脚踏开关的寿命-机械强度试验。设备采用铝合金机架,不锈钢封板,由伺服电机驱动,触摸屏显示及设置测试参数,PLC控制。可预设试验次数、试验速率、试验时间

更新日期:2025-08-19

型号:

浏览量:1180

查看详情

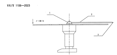
电动手术台摆动量测试工装

功能概述: 该设备符合YYT1106-2008标准,用于测量电动手术台的横向、纵向和水平侧向的摆动量。

更新日期:2025-08-19

型号:

浏览量:1147

查看详情

阻干态微生物穿透性能测试仪

适用标准 YY/T 0506.5-2009 病人、医护人员和器械用手术单、手术衣和洁净服——第5部分:阻干态微生物穿透试验方法 YY/T 1799-2020 可重复使用医用防护服技术要求4.2.2.4 ISO 22612:2005 传染原防护衣 阻干态微生物穿透试验方法 BS EN 13795:2011+A1:2013 YY/T 0506.1-2023 医用手术单、手术衣和 洁净服 第 1部分 :通用要求

更新日期:2024-10-17

型号:

浏览量:2349

查看详情

YY9706点燃试验装置

YY9706加热设备柔性部件外罩的机械强度和耐热性,YY9706.235-2021标准第8.8.4章节对点燃试验装置电极的要求,• 电热毯火花点燃装置本设备符合IEC60335-2-17:2006/GB4706.8-2008图113的要求,用于柔性电热器具的耐燃性试验,以检验带电体闪弧是否引起试品过热或燃烧。

更新日期:2024-10-17

型号:

浏览量:2534

查看详情

YY9706加热垫碰撞试验用斜坡

YY9706.235-2021标准第9.1.101章节对斜坡的要求,一﹑用途: 电热毯碰撞试验机,用于电热垫的碰撞试验 二﹑试验标准: 电热毯碰撞试验机符合YY9706.235标准201.9.1.101加热垫碰撞试验用斜坡以及YY0834-2011《医用电热毯、电热垫和电热床垫安全专用要求》第21.101条款的要求

更新日期:2024-10-17

型号:

浏览量:2290

查看详情

医用病床冲击强度试验机

医用病床冲击强度试验机满足标准YY9706. 252-2021医用电气设备第2-52 部分:医用病床的基本安全和基本性能专用要求,201.9.8.3.3 来自人体重量的动载荷; 201.9.8.3.3.2 高度调整机构的动态试验;201.9.8.3.3.3边栏强度和闩锁可靠性;201.9.8.3.3.4拉升杆的动态试验; 201. 15.3.4.1手持的ME设备测试。

更新日期:2025-11-11

型号:

浏览量:3573

查看详情

58 个  每页 9 个  首页  上一页 1234... 下一页 尾页 第 1 页